Published:2009/6/25 1:40:00 Author:May | From:SeekIC

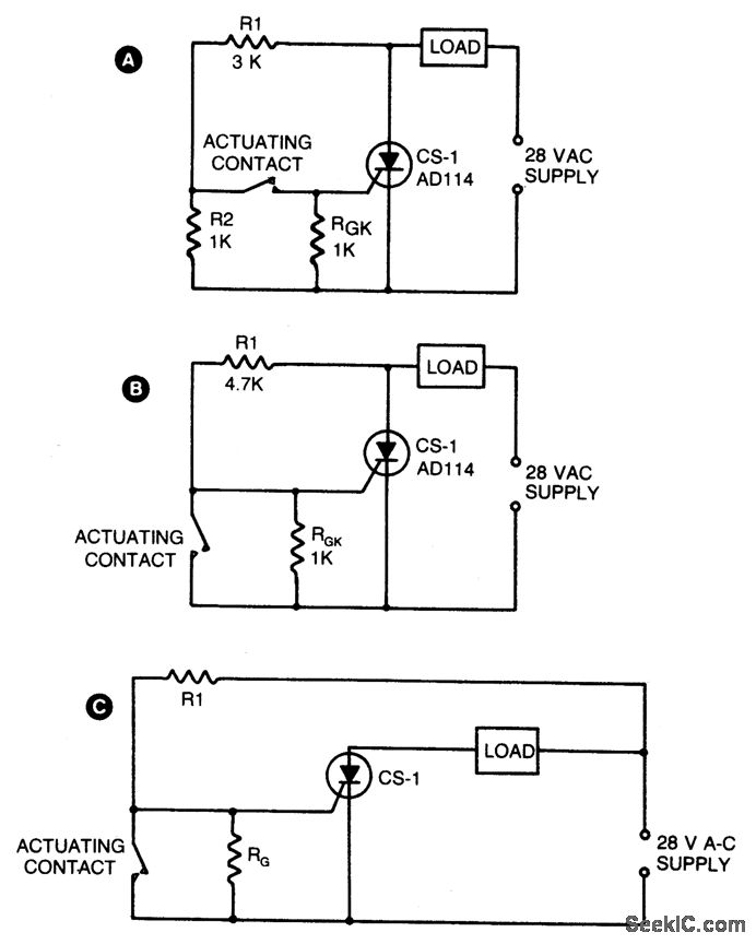
Two simple arrangements for resistive loads are shown in A & B. The circuit in A will provide load power when the actuating contact is closed, and no power when the contact is open. B provides the reierse of this action-power being supplied to the load when the contact is open with no load power when the contact is closed. If desired, both circuits can be made to latch by operating with dc instead of the indicated ac supply. In both of these circuits, voltage across the sensitive contacts is under 5 volts, and contact current is below 5 mA. For inductive loads, R1 would normally be returned to the opposite side of the load as shown in C.
Reprinted Url Of This Article:
http://www.seekic.com/circuit_diagram/Power_Supply_Circuit/HIGH_POWER_CONTROLFOR_SENSITIVE_CONTACTS.html
Print this Page | Comments | Reading(3)
Code: