Published:2009/7/23 22:55:00 Author:Jessie | From:SeekIC

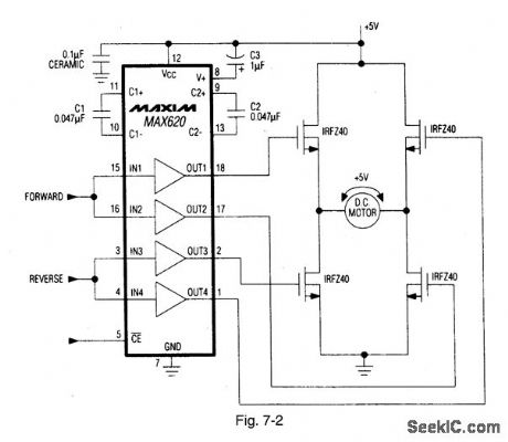
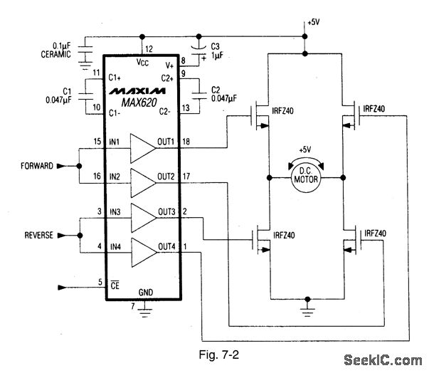
Figure 7-2 shows a MAX620 driving an H-bridge switch that controls the direction of a +5-Vdc motor. By toggling between the forward and reverse inputs, each driver-output pair turns on the associated pair, which passes current through the motor, causing rotation in the desired direction. To prevent all four MOSFEEs from switching on at once, update the forward/reverse inputs before clocking CE low, and do not assert forward and reverse simultaneously. Do not use a supply that will cause the gate drive to exceed the absolute maximum gate-to-source voltage of the low-side switch. MAXIM NEW RELEASES DATA Book, 1992, P. 4-27.
Reprinted Url Of This Article:
http://www.seekic.com/circuit_diagram/Power_Supply_Circuit/H_bridge_dc_motor_controller.html
Print this Page | Comments | Reading(3)
Code: