Published:2009/7/24 3:50:00 Author:Jessie | From:SeekIC

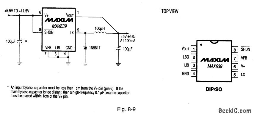
Figure 8-9 shows a MAX639 connected to provide +5-V output at 100 mA with inputs from +5.5 V to +11.5 V. Maximum quiescent current is 20 μA, with a typicai dropout of 0.5 V at (100-mA load). Efficiency is greater than 90%. MAXIM HIGH RELIAsILITY DATA BOOK, 1993, P. 4-31.
Reprinted Url Of This Article:
http://www.seekic.com/circuit_diagram/Power_Supply_Circuit/High_efficiency__5_V_step_dozon_regulator.html
Print this Page | Comments | Reading(3)
Code: