Published:2009/7/23 22:59:00 Author:Jessie | From:SeekIC


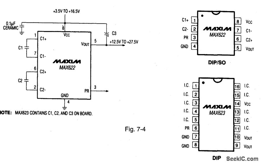
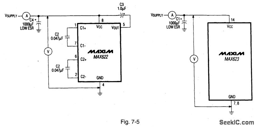
Figure 7-4 shows a MAX622 connected to generate a regulated output voltage thati s 11 V greater than the input supply voltage. The primary use is to power high-side switching and control circuits.The output current is 25 mA. with a typical qulescentcurrent of 70 μA. Figure 7-5 shows quiescent Supply current test circuits. The MAX623 has internal charge-pump capacitors.The logic level PR (power ready) output indicates when the high-side voltage reaches the proper level.MAXIM NEWRELEASES DATA Book 1992 P. 4-31 4-37.
Reprinted Url Of This Article:
http://www.seekic.com/circuit_diagram/Power_Supply_Circuit/High_side_power_supplies.html
Print this Page | Comments | Reading(3)
Code: