Published:2009/7/24 1:26:00 Author:Jessie | From:SeekIC

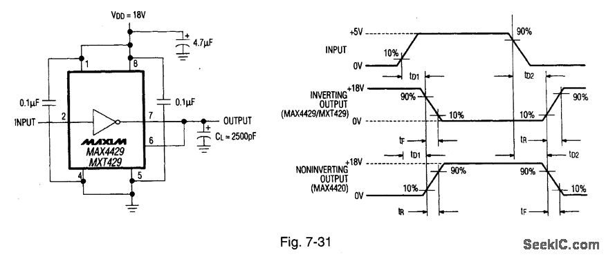
Figure 7-30 shows the MAX4429/MXT429 connected to translate TTL/CMOSinputs to high-voltage/high-current outputs,The output impedance is 1.5 Ω witha 6-A current.Delay time is 40 ns, with 25-ns rise/fall times(into a 2500-pF load).Figure 7-31 shows the timing test circuit.The supply range is 4.5 V to 18 V,with anoutput swing to within 25 mV of VDD and ground.MAXIM NEW RELEASES DATABook,1994, P.4-31.4-35,
Reprinted Url Of This Article:
http://www.seekic.com/circuit_diagram/Power_Supply_Circuit/High_speed6_A_single_MOSFET_drivers.html
Print this Page | Comments | Reading(3)
Code: