Published:2009/7/16 22:28:00 Author:Jessie | From:SeekIC

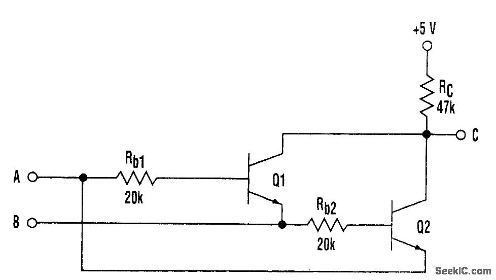
For some applications, the cost or size of XOR-gate chips can be prohibitive. One alternative is the two-transistor combination shown, which forms an inverting X0R gate for just pennies. If both inputs A and B are low, both Q1 and Q2 are off, and the output at C is high. Likewise, if both inputs are high, both transistors are turned off, and again the output at C is high. When A is high and B is low, Q1's base-emitter junction is forward-biased, while Q2's base-emitter junction is reverse-biased.This turns on Q1, pulling the output low. The last condition is B high and A low. In this state, Q1's base-emitter junction is reverse-biased, but Q2 is forward-biased. This turns on Q2 and pulls the out-put low. The sink and source currents driving the two-transistor gate are very low when the values shown are used. Even though the signals are driving the emitters of transistors, when the base and emitter are at the same potential (A and B are both high or both low), no current flows. When one of the transistors is turfted on, the emitter drive must be able to sink only the base plus collector cur-rents. This current will be approximately IE=IB+IC, where: IB≈(VH-VBE)/RB and IC≈(VCC-Vsat)/RC.From this VH+TTL high output level=3V; VBE=forward-biased base-emitter voltage ≈0.7 V;VCC=5V typical; and Vsat=0.2 V typical. Also, for this example,Rb=20 kΩ and RC=47 kΩ.Thus,IC≈215μA.
Reprinted Url Of This Article:
http://www.seekic.com/circuit_diagram/Power_Supply_Circuit/INEXPENSIVE_TWO_TRANSISTOR_XOR_GATE.html
Print this Page | Comments | Reading(3)
Code: