Published:2009/7/24 0:33:00 Author:Jessie | From:SeekIC

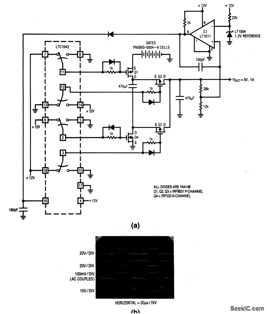
This circuit operates from 12-V battery (6 cells), and provides5-V output at 1 A. Notice that no inductor is required.
Reprinted Url Of This Article:
http://www.seekic.com/circuit_diagram/Power_Supply_Circuit/Inductorless_high_current_switching_regulator.html
Print this Page | Comments | Reading(3)
Code: