Published:2009/7/25 1:47:00 Author:Jessie | From:SeekIC


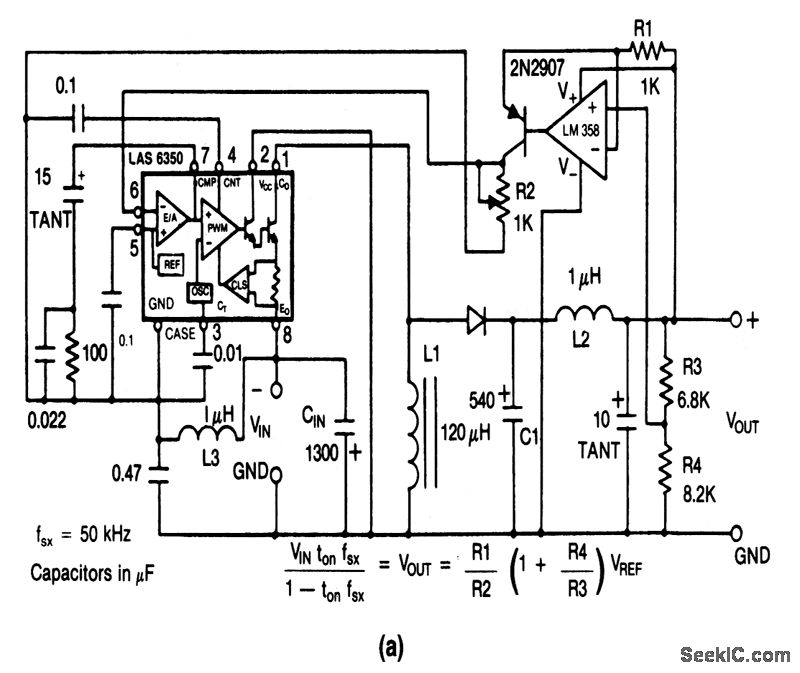
This circuit provides a +9 to +30 V output at 5 A from a -48-V input.Typical performance data and component source information are given in Figs.4-35B and 4-35C, respectively.
Reprinted Url Of This Article:
http://www.seekic.com/circuit_diagram/Power_Supply_Circuit/Inverting_step_down_converter_with_adjustable_output.html
Print this Page | Comments | Reading(3)
Code: