Published:2009/7/20 4:46:00 Author:Jessie | From:SeekIC

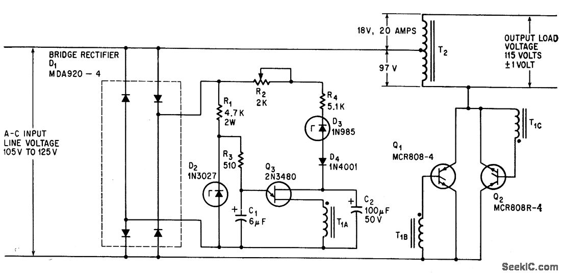
Line voltage controls frequency of relaxation oscillator Q3, which in turn changes triggering of scr's to keep load voltage essentially constant.-R Wechsler, Scr's Regulate A-C Line Voltage, ,. Electronics, 38:3, p 61-62.
Reprinted Url Of This Article:
http://www.seekic.com/circuit_diagram/Power_Supply_Circuit/LINE_VOLTAGE_REGULATOR.html
Print this Page | Comments | Reading(3)
Code: