Published:2009/6/23 4:06:00 Author:jailer | From:SeekIC

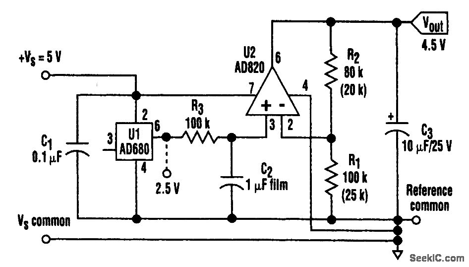
This low-dropout reference produces a 4.5-V output from a supply just a few hundred millivolts greater. With 1-mA dc Ioading, it maintains a stable 4.5-V output for inputs down to 4.7 V.
Reprinted Url Of This Article:
http://www.seekic.com/circuit_diagram/Power_Supply_Circuit/LOW_DROP_OUT_REGULATOR.html
Print this Page | Comments | Reading(3)
Code: