Published:2009/7/24 5:14:00 Author:Jessie | From:SeekIC

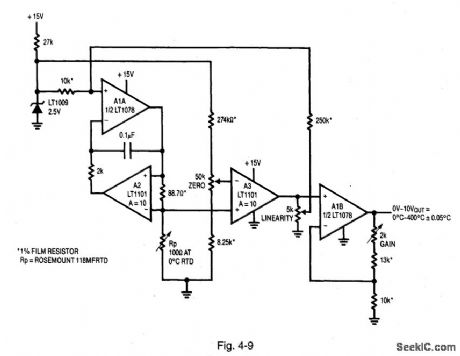
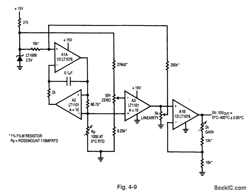
Figure 4-9 shows a bridge with a ground-referred RTD to Improve noise rejection,The RTD leg is driven by a current Source, with the opposite bridge branch voltage biased.The current drive allows the bridge voltage across the RTD to vary directly with the temperature-induced resistance shift. The difference between this potential and that of the opposing bridge leg forms the bridge output,To calibrate, substitute a precision decade box(General Radio 1432k)for RP. Set the box to the0℃ value(100.00Ω)and adjust the offset trim for a 0.00-V output. Then set the decade box for a 140℃ output(154.26Ω)and adjust the gain trim for a 3.500-V output reading, Finally, set the box to 249.0V-Ω(400.00℃)and trim the linearity adjustment for a 10.000-V output. Repeat the sequence until all three points are fixed.The total error over the entire range will be within ±0.05℃. The resistance values given are for a nominal 100.00 Ω(0℃)sensor. Sensors deviating from this nominal value can be used by factoring In the deviation from 100.00Ω.LINEARTECHNOLOGY,APPLICATION NOTE 43,P. 11.
Reprinted Url Of This Article:
http://www.seekic.com/circuit_diagram/Power_Supply_Circuit/Linearized_platinum_RTD_resistance_bridge.html
Print this Page | Comments | Reading(3)
Code: