Published:2009/7/24 23:01:00 Author:Jessie | From:SeekIC

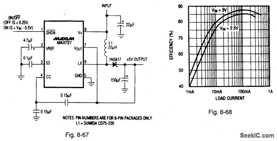
Figure 8-67 shows a MAX731 connected to provide 5 V from a 3.3-V supply. Figure 8-68 shows the efficiency curves. This PWM boost regulator is designed for low-noise, battery-powered applications, such as cellular phones or sub-notebook computers without rotating disk drives (where the maximum +5-V load is 2 W or less). The input voltage range is 1.4 V to 5 V, with a quiescent current of 2 mA, and a maximum load current of 350 mA. The no-load start-up voltage is 1.8 V. The switching frequency is 170 kHz, and the shutdown current is 35 pt,A. MAXIM BATTERY MANAGEMENT CIRCUIT COLLECTION, 1994, P. 41.
Reprinted Url Of This Article:
http://www.seekic.com/circuit_diagram/Power_Supply_Circuit/Low_power_33_V_to_5_V_supply.html
Print this Page | Comments | Reading(3)
Code: