Published:2009/7/24 2:08:00 Author:Jessie | From:SeekIC

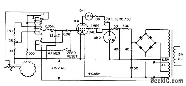
Toroid placed around one of welder electrodes develops voltage that is function of rate of change of magnetic flux produced by alternating current lowing through weld. Peak-reading a-c electronic voltmeter is used to measure resulting voltage across toroid. Selector switch positions are: 1-no signal input; 2-0 to 15,000 amp; 3-0 to 30,000 amp; 4-calibration.-J. Markus, Handbook of Electronic Control Circuits, McGraw-Hill,1959, p 326.
Reprinted Url Of This Article:
http://www.seekic.com/circuit_diagram/Power_Supply_Circuit/MEASURING_SPOT_WELDING_CURRENT.html
Print this Page | Comments | Reading(3)
Code: