Published:2009/7/17 3:23:00 Author:Jessie | From:SeekIC

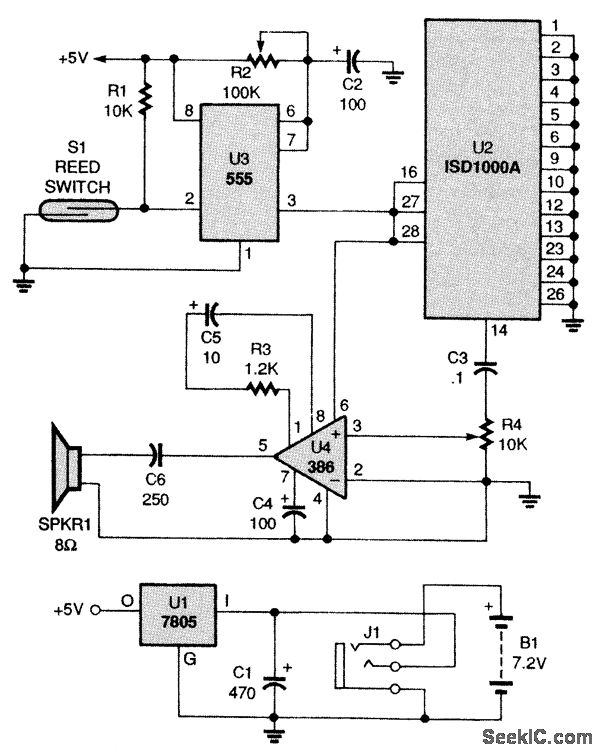
This circuit can fit inside a model-train car and output any sound that you record in the ISD1000A,Imagine a cattle car that moos! The circuit can be used in model railroading to sound an electronic diesel horn when the train approaches a railroad crossing It is mounted on the bottom of the car When the sound car approaches the Crossing,S1 is momentarily closed by a magnet that must be installed under the track,starting the timing Cycle and sounding the horn Before you can use U2,the ISD1000A record and playback IC, you must first program it by breadboarding the circuit found In the applications data included with the IC To record sound on U2,you'll need a sample of the sound that you want the IC to play.The phone jack, which is mounted on the bottom of the car, serves two purposes It serves alb a means of charging B1, the 7 2-V NiCd battery, and it also provides a way to turn the circuit off.
Reprinted Url Of This Article:
http://www.seekic.com/circuit_diagram/Power_Supply_Circuit/MODEL_TRAIN_SOUNDER.html
Print this Page | Comments | Reading(3)
Code: