Published:2009/6/26 3:49:00 Author:Jessie | From:SeekIC

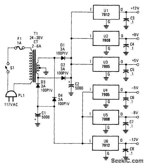
This dual-polarity, multivoltage power supply can be built for a very small investment. The circuit is built around 78XX and 79XX series 1-A voltage regulators, four 3-A diodes, a 24-30-V 2-6-A transformer, and eight filter capacitors.
Reprinted Url Of This Article:
http://www.seekic.com/circuit_diagram/Power_Supply_Circuit/MULTIVOLTAGE_POWER_SUPPLY.html
Print this Page | Comments | Reading(3)
Code: