Published:2009/7/19 21:42:00 Author:Jessie | From:SeekIC

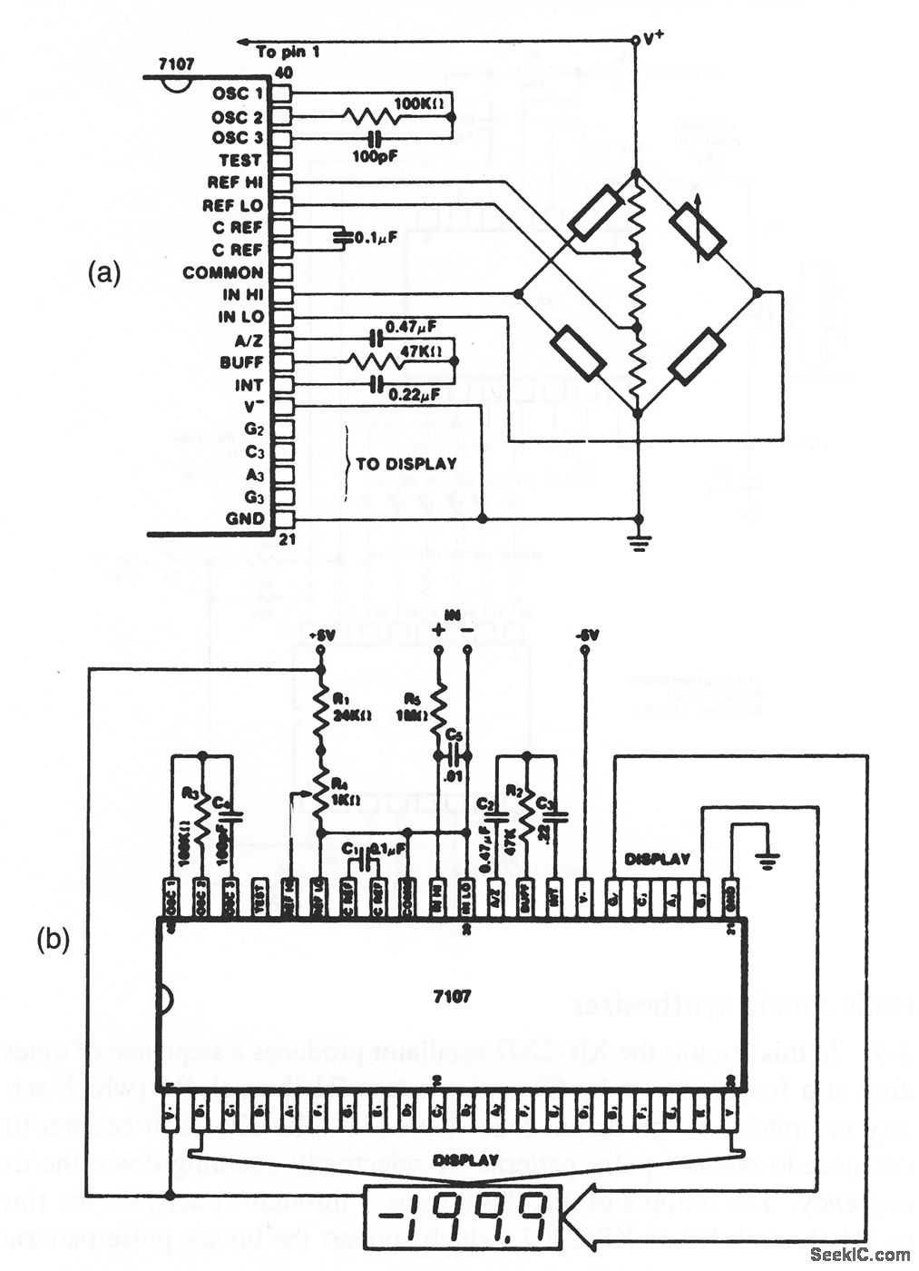
This circuit shows an ICL7107 connected to measure ratiometric values of quad load cells, and to display the results on a 31/2-digit LED. Direct connections between the ICL7107 and the LED are shown in Fig. 12-10B. The resistor values with the load-cell bridge are determined by the desired sensitivity.
Reprinted Url Of This Article:
http://www.seekic.com/circuit_diagram/Power_Supply_Circuit/Measuring_ratiometric_values_of_quad_load_cells.html
Print this Page | Comments | Reading(3)
Code: