Published:2009/6/23 2:38:00 Author:May | From:SeekIC

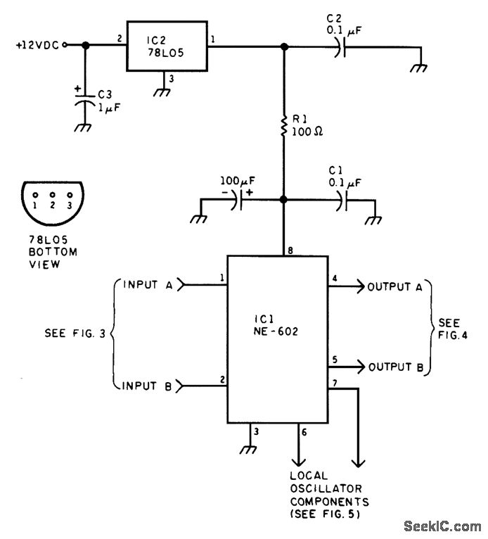
The dc power supply circuit for the NE-602.
Reprinted Url Of This Article:
http://www.seekic.com/circuit_diagram/Power_Supply_Circuit/NE6O2_dc_POWER_CIRCUITS.html
Print this Page | Comments | Reading(3)
Code: