Published:2009/7/16 21:07:00 Author:Jessie | From:SeekIC

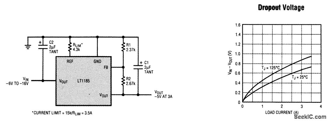
Regulating negative voltages with minimal dropout is now possible with the LT1185 universal voltage regulator. It supplies up to 3 A of output current with a dropout voltage guaranteed to be less than 1.2 V. The five-lead TO-220 package includes a pin that allows accurate current-limit adjustment for lower-current applications. Although aimed primarily at negative regulation applications, the LT1185 works equally well as a floating positive regulator. Output voltage is programmable from 2.3 to 30 V.
Reprinted Url Of This Article:
http://www.seekic.com/circuit_diagram/Power_Supply_Circuit/NEGATIVE_REGULATOR.html
Print this Page | Comments | Reading(3)
Code: