Published:2009/6/29 22:43:00 Author:May | From:SeekIC

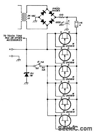
Developed for recharging small nickel-cadmium batteries used in handheld FM transceivers. Field-effect transistors serve as constant-current sources when gate is shorted to source. Practically any N-channel JFET having drain-to-source cument of 8-15 mA will work. FETs shown were measured individually and grouped to give desired choice of 15- or 50-mA charging currents.-G. K Shubert, FET-Controlled Charger for Small Nicad Batteries, Ham Radio, Aug. 1975, p 46-47.
Reprinted Url Of This Article:
http://www.seekic.com/circuit_diagram/Power_Supply_Circuit/NICAD_CHARGER_2.html
Print this Page | Comments | Reading(3)
Code: