Published:2009/7/24 5:26:00 Author:Jessie | From:SeekIC

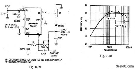
Figure 8-39 shows a MAX759 connected as an LCD-contrast supply with a -24-V output using an autotransformer. Figure 8-40 shows the efficiency curve. The MAX759 has a large lowJsaturation, internal P-channel MOSFET. The use of an autotransformer trades off higher peak switch currents for reduced stress voltage on the switch transistor. The circuit operates over a 4-V to 6-V range (with a maximum input/output differential of 30 V), draws 3.7-mA quiescent current, and is capable of 50-mA output. Mount L1 close to the IC to minimize PC-trace inductance in the LX lead. MAXIM BATTERY MANAGEMENT CIRCUIT COLLECTION, 1994, P. 47, 48.
Reprinted Url Of This Article:
http://www.seekic.com/circuit_diagram/Power_Supply_Circuit/Negative_LCD_contrast_supply.html
Print this Page | Comments | Reading(3)
Code: