Published:2009/7/24 5:12:00 Author:Jessie | From:SeekIC

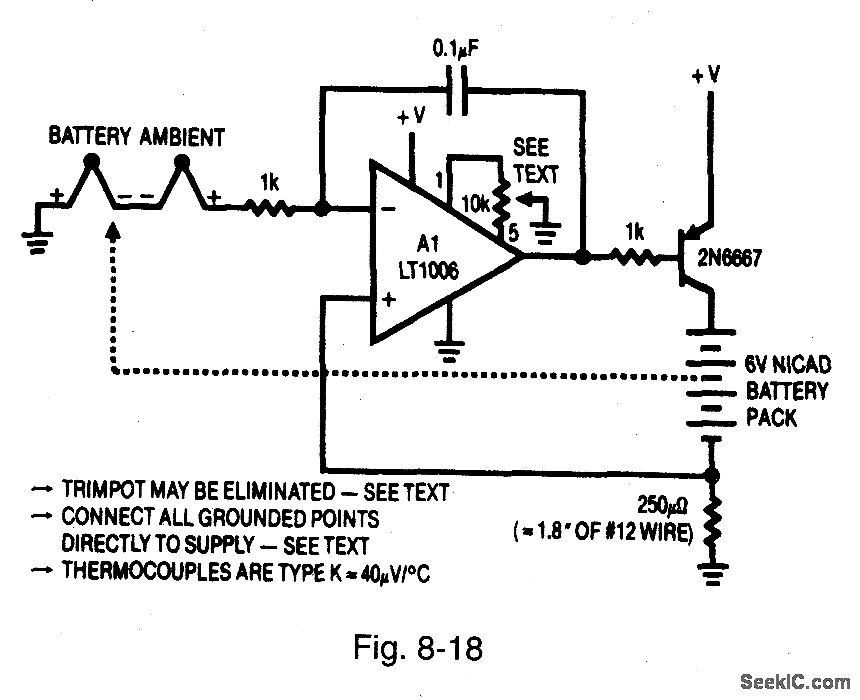
Figure 8-18 showp a thermally based NiCad charger for use with batteries that are common to ground. The transistor is connected as a common emitter, so the inputs to A1 are reversed. However, operation is the same as for the Fig. 8-15 circuit. Notice that in both the Fig. 8-15 and 8-18 circuits, the trimpot can be eliminated by specifying an LT1006 set (at manufacture) to the desired offset value. High-quality grounds must be used, and all ground returns must be brought directly back to the supply common terminal. LINEAR TECHNOLOGY, APPLICATION NOTE 37, PAGE 2.
Reprinted Url Of This Article:
http://www.seekic.com/circuit_diagram/Power_Supply_Circuit/NiCad_charger_for_grounded_batteries.html
Print this Page | Comments | Reading(3)
Code: