Published:2009/7/17 3:43:00 Author:Jessie | From:SeekIC

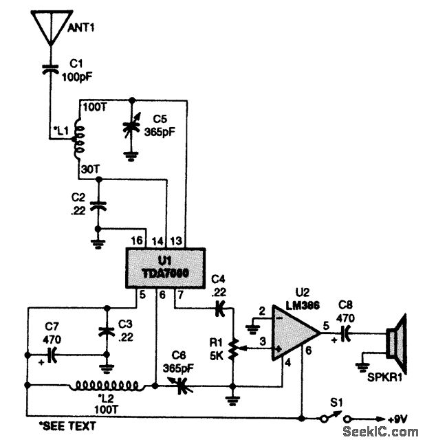
The schematic diagram of the receiver circuit is shown. About all you have to do is wind two coils, connect a few components together, and tie the input to a simple wire antenna, and a receiver is born. The two coils, L1 and L2, each comprised 100 turns of #28 enamel-covered copper magnet wire wound on T80-2 toroid cores (with a tap at the 30th turn on L1).
Reprinted Url Of This Article:
http://www.seekic.com/circuit_diagram/Power_Supply_Circuit/ONE_CHIP_FRONT_END_AM_RECEIVER.html
Print this Page | Comments | Reading(3)
Code: