Published:2009/7/19 23:17:00 Author:Jessie | From:SeekIC

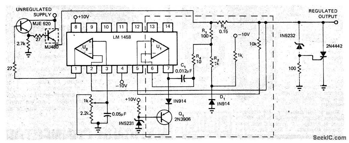
Components within dashed lines protect regulator IC from over current condition frequently encountered when zener-SCR crowbar is used across output.Regulated output is 5 V with IC shown. Article gives operating details of circuit and equation for shutdown time, which is about 1 s.-S. J. Pirkle, Circuit Protects Power Supply Regulator from Overcurrent, EDN Magazine, Feb. 5, 1973, p89.
Reprinted Url Of This Article:
http://www.seekic.com/circuit_diagram/Power_Supply_Circuit/OVERVOLTAGE_CROWBAR.html
Print this Page | Comments | Reading(3)
Code: