Published:2009/7/25 1:54:00 Author:Jessie | From:SeekIC

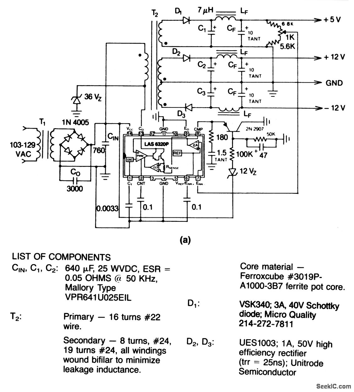
This circuit provides +5 V at 1 A, +12 V at 0.2 A, and -12 V at 0.2 A from a 103- to 129-Vac line input. Figure 4-38B shows component source information.
Reprinted Url Of This Article:
http://www.seekic.com/circuit_diagram/Power_Supply_Circuit/Off_line_multiple_output_flyback_converter.html
Print this Page | Comments | Reading(3)
Code: