Published:2009/7/24 0:07:00 Author:Jessie | From:SeekIC

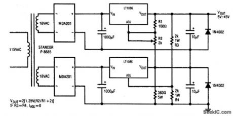
In this circuit, the two regulators are connected in series to increase the voltage capability. However, neither regulator exceeds its maximum differential voltage-even under short-circuit conditions.
Reprinted Url Of This Article:
http://www.seekic.com/circuit_diagram/Power_Supply_Circuit/Off_line_regulator_with_adjustable_output.html
Print this Page | Comments | Reading(3)
Code: