Published:2009/7/17 2:54:00 Author:Jessie | From:SeekIC

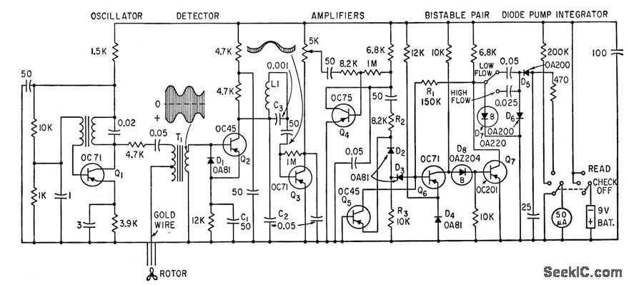
Impedance between gold wire and blades of water-driven propeller changes a small amount as each blade passes within 0.1 mm of wire tip, giving amplitude modulation of 15-kc car rier generated by Q1. After demodulation,signal at propeller frequency is amplified, rectified, and integrated to drive velocity-indicating meter.-L. Molyneux and J. M.Edington, Portable Propeller Flowmeter Determines Water Velocity, Electronics, 34:25, p 60-62.
Reprinted Url Of This Article:
http://www.seekic.com/circuit_diagram/Power_Supply_Circuit/PORTABLE_FLOWMETER.html
Print this Page | Comments | Reading(3)
Code: