Published:2009/7/19 22:25:00 Author:Jessie | From:SeekIC

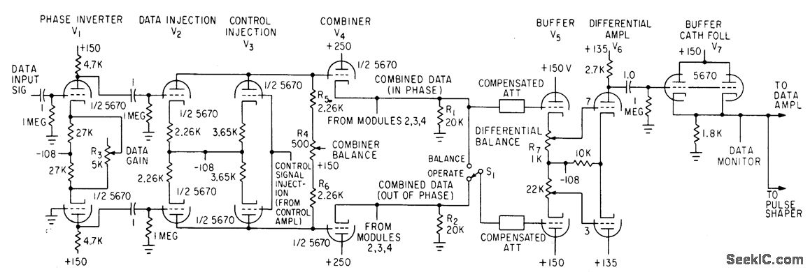
Can handle any IRIG modulating signal and feed any telemetry receiver having external agc output. Will combine two, three, or four channels.-W. Casson and R. C. Robinson, Versatile Diversity Combiner Handles Most Missile-Range Signals, Electronics, 35:44, p 40-43.
Reprinted Url Of This Article:
http://www.seekic.com/circuit_diagram/Power_Supply_Circuit/POST_DETECTION_DIVERSITY_COMBINER.html
Print this Page | Comments | Reading(3)
Code: