Published:2009/7/6 7:07:00 Author:May | From:SeekIC

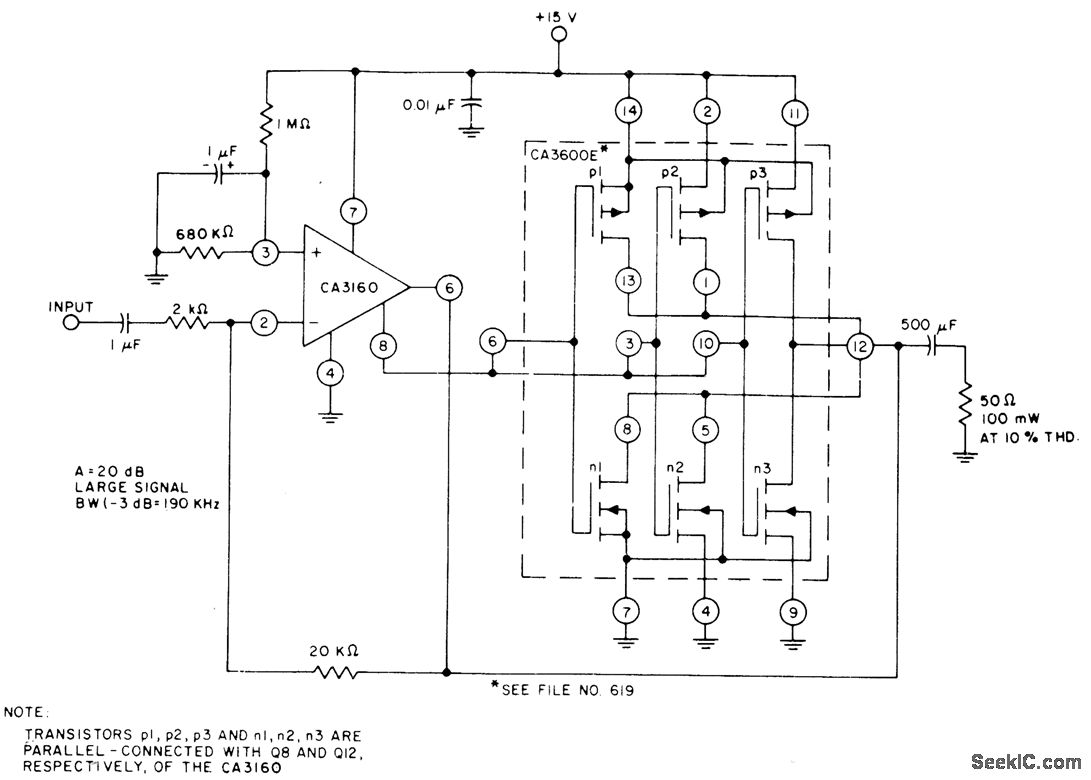
CA3600E CMOS transistor array provides parallel-connected transistors for power-boosting capability with CA3160 opamp. Feedback is used to establish closed. loop gain of 20 dB, Typical large-signal band-width (-3 dB) is 190 kHz, - Linear Integrated Circuits and MOS/FET 's, RCA Solid State Division, Somerville, NJ, 1977, p 271-273.
Reprinted Url Of This Article:
http://www.seekic.com/circuit_diagram/Power_Supply_Circuit/POWER_BOOSTER_2.html
Print this Page | Comments | Reading(3)
Code: