Published:2009/7/15 5:26:00 Author:Jessie | From:SeekIC

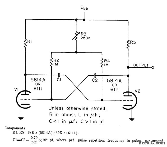
Astable plate-to-grid coupled mvbr serves as moderately stable repetition-rate generator having greater frequency stability than blocking oscillator and fewer components than Wien-bridge oscillator. One drawback is that output impedance for positive pulses equals plate load resistance, which must be relatively high for good frequency stability. Output is 260 V for 5814A and 125 V for 6111. Maximum prf is 8,000 pps.-NBS, Handbook Preferred Circuits Navy Aeronautical Electronic Equipment, Vol. I, Electron Tube Circuits, 1963, PC 40, p 40-2.
Reprinted Url Of This Article:
http://www.seekic.com/circuit_diagram/Power_Supply_Circuit/PREFERRED_PRF_GENERATOR.html
Print this Page | Comments | Reading(3)
Code: