Published:2009/7/16 4:10:00 Author:Jessie | From:SeekIC

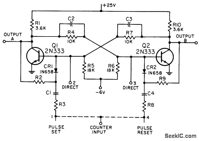
Slow-speed mvbr may be used as counter, shift register, gate, or switch. Provides transitional stages between electromechanical readout and higher-speed nonsaturating bistable counters. Maximum prf is 40 kc, delay time is 2 to 5 microsec, and output levels are both 18 V. 2N333 has been dropped from Preferred List, but 2N335 can be used if operating point is adjusted for its higher beta. -NBS, Handbook Preferred Circuits Navy Aeronautical Electronic Equipment, Vol. II, Semiconductor Device Circuits, PSC 14 (originally PC 250), p 14-2.
Reprinted Url Of This Article:
http://www.seekic.com/circuit_diagram/Power_Supply_Circuit/PREFERRED_SATURATING_BISTABLE.html
Print this Page | Comments | Reading(3)
Code: