Published:2009/7/16 23:26:00 Author:Jessie | From:SeekIC

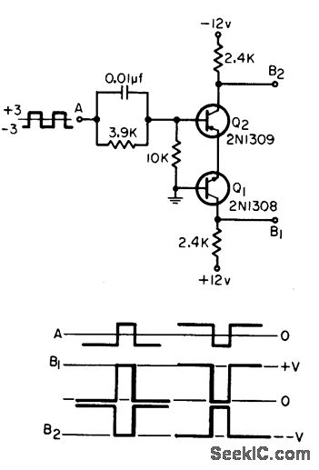
Provides bipolar pulses 180°out of phase, with perfect coincidence of negative-going trailing edges, same reference level, and drive capability for saturated inverters. Used for switching sample-hold gates requiring opposite-going pulses with trailing-edge coincidence.-G. Wolff, Simple Pulse Phase-Splitter, EEE, 14:2, p 70-72.
Reprinted Url Of This Article:
http://www.seekic.com/circuit_diagram/Power_Supply_Circuit/PULSE_PHASE_SPLITTER_1.html
Print this Page | Comments | Reading(3)
Code: