Published:2009/7/16 23:36:00 Author:Jessie | From:SeekIC

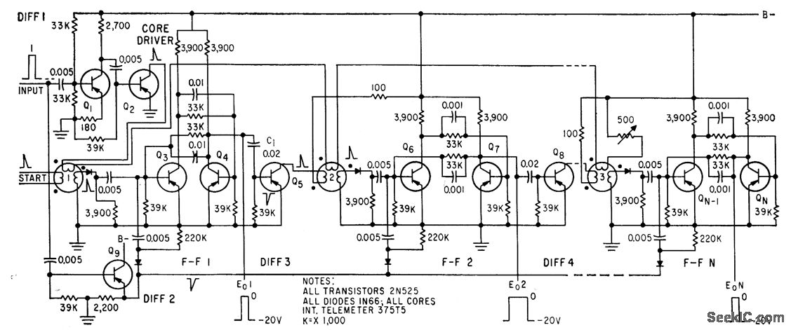
Receives train of varying width pulses and presents each pulse at output terminal corresponding lo position of pulse in train, without changing pulse widths. Three transistors and one ferrite core are used for each sorted pulse. Can handle over 1,000 pps.-J. H. Porter, Pulse Sorting with Transistors and Ferrites, Electronics, 32:20, p 64-65.
Reprinted Url Of This Article:
http://www.seekic.com/circuit_diagram/Power_Supply_Circuit/PULSE_SORTER.html
Print this Page | Comments | Reading(3)
Code: