Published:2009/7/23 23:47:00 Author:Jessie | From:SeekIC

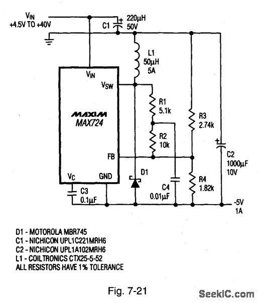
Figure 7-21 shows the MAX724 connected to provide -5 V at a 1-A output with a+4.5-V to+40-V input.See Figs.7-18 and 7-19 for pln configurations and Fig.7-20 for component suppliers,MAXIM EVALUATION KIT DATA Book,1994 P.3-138.
Reprinted Url Of This Article:
http://www.seekic.com/circuit_diagram/Power_Supply_Circuit/Positi_to_negative_dc_dc_inverter.html
Print this Page | Comments | Reading(3)
Code: