Published:2009/7/19 21:23:00 Author:Jessie | From:SeekIC

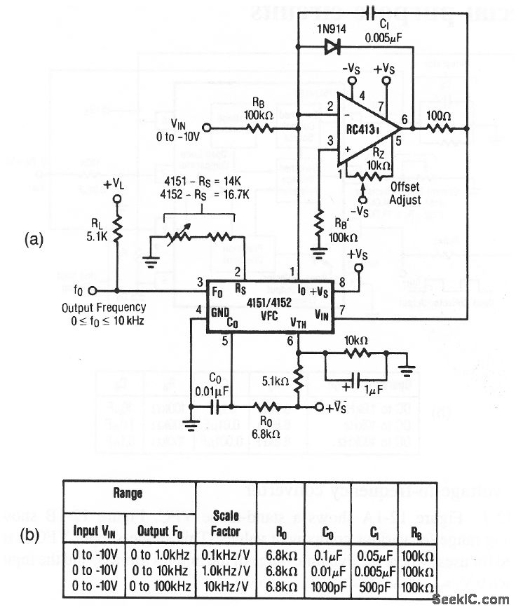
Figure 12-2A shows a current-sourced VFC that is similar to Fig. 12-1, except that the passive RC integrator is replaced by an active op-amp integrator.This increases the dynamic range down to 0 V, improves response time, and eliminates the nonlinearity error that is introduced by the limited compliance of the switched current source output. Figure 12-2B shows the operating range for various component values. Raytheon Linear Integrated Circuits 1989 p 7-7, 7-8.
Reprinted Url Of This Article:
http://www.seekic.com/circuit_diagram/Power_Supply_Circuit/Precision_current_sourced_VFC.html
Print this Page | Comments | Reading(3)
Code: