Published:2009/6/28 21:58:00 Author:May | From:SeekIC

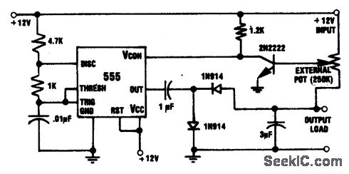
This circuit combines a 555 timer with a 2N2222 transistor and an extemal potentiometer. The pot adjusts the output voltage to the desired value. To regulate the output voltage, the 2N2222 varies the control voltage of the 555 IC, increasing or decreasing the pulse repetition rate. A 1.2 K resistor is used as a collector load. The transistor base is driven from the extemal pot. If the output voltage becomes less negative, the control voltage moves closer to ground, causing the repetition rate of the 555 to increase, which, in turn, causes the 3 μF capacitor to charge more frequently. Output voltage for the circuit is 0 to 10 V, adjusted by the extemal pot. Output regulation is less than five percent for 0 to 10 mA and less than .05 percent for 0 to 0.2 mA.
Reprinted Url Of This Article:
http://www.seekic.com/circuit_diagram/Power_Supply_Circuit/RE_PROBE_FOR_VTVM.html
Print this Page | Comments | Reading(3)
Code: