Published:2009/7/17 2:03:00 Author:Jessie | From:SeekIC

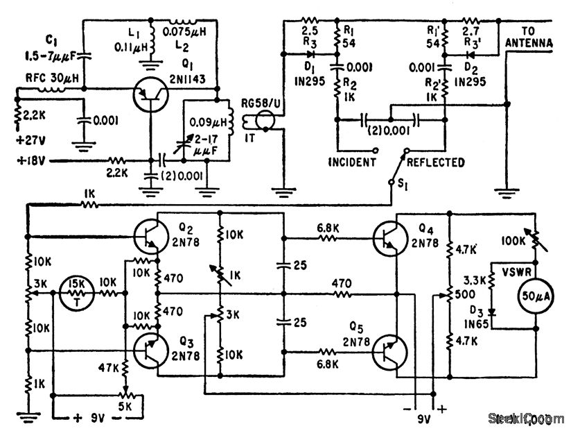
Couples variable-frequency 150-175 Mc oscillator to vhf antenna and furnishes incident and reflected power samples to d-c amplifier for measuring voltage-standing wave ratio.-J. Hanson, Unconventional Technique for Measuring VSWR, Electronics, 32:43, p 120-121.
Reprinted Url Of This Article:
http://www.seekic.com/circuit_diagram/Power_Supply_Circuit/R_C_DIRECTIONAL_COUPLER.html
Print this Page | Comments | Reading(3)
Code: