Published:2012/11/26 0:55:00 Author:muriel | Keyword: Regulated , DC, power supply | From:SeekIC

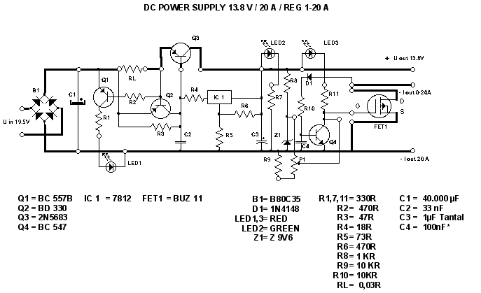
This is a Regulated DC power supply with short circuit protection and with current limiter.
Reprinted Url Of This Article:
http://www.seekic.com/circuit_diagram/Power_Supply_Circuit/Regulated_DC_power_supply.html
Print this Page | Comments | Reading(3)
Code: