Published:2009/7/19 22:41:00 Author:Jessie | From:SeekIC

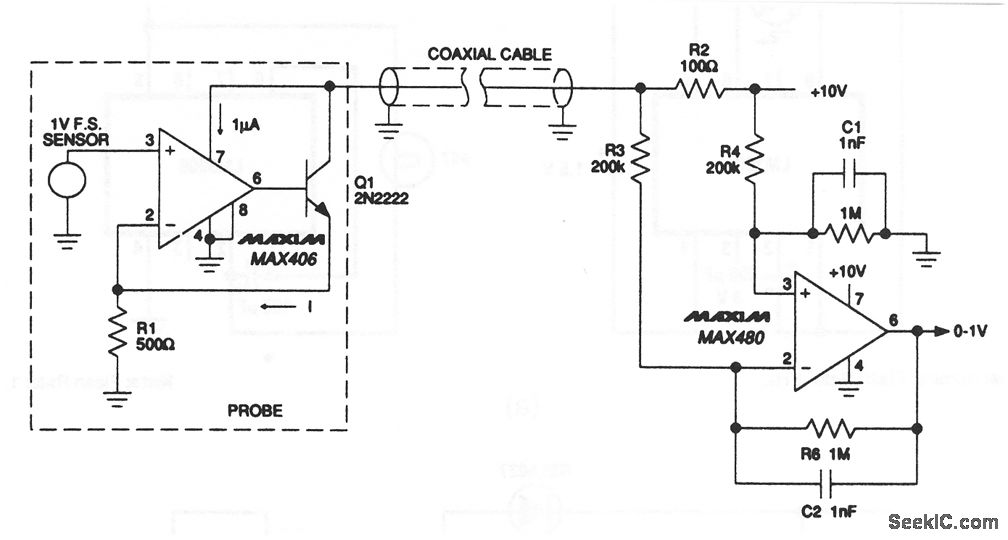
A simple two-wire current transmitter uses no power at the transmit-ting end (except that from the transmitted signal). At the transmitter, a 0- to 1-V input drives a MAX406 and npn transistor that is connected as a voltage-controlled current source. Although the MAX406 supply current is taken from the signal, only 1-μA out of 2-mA error is added. The output is sent through the coax to the MAX480, which reconstructs a ground-referenced 0- to 1-V signal. Maxim 1992, Applications and Product Highlights p. 5-9
Reprinted Url Of This Article:
http://www.seekic.com/circuit_diagram/Power_Supply_Circuit/Remotely_powered_sensor_amp.html
Print this Page | Comments | Reading(3)
Code: