Published:2009/7/17 2:29:00 Author:Jessie | From:SeekIC

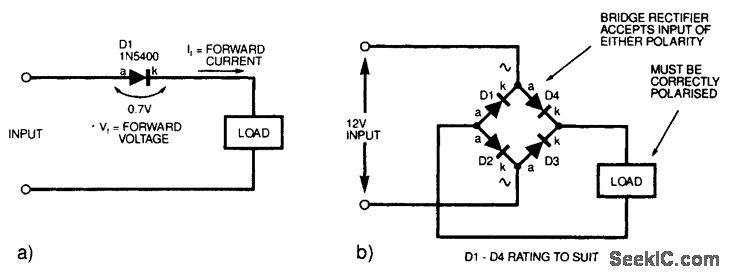
Two methods to avoid damage to circuitry from reverse voltages using diodes are shown.
Reprinted Url Of This Article:
http://www.seekic.com/circuit_diagram/Power_Supply_Circuit/SIMPLE_REVERSE_POLARITY_PROTECTION_CIRCUITS.html
Print this Page | Comments | Reading(3)
Code: