Published:2009/7/20 21:59:00 Author:Jessie | From:SeekIC


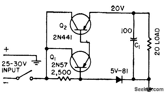
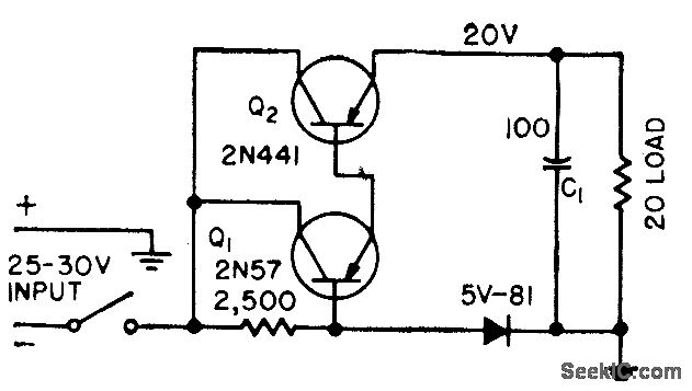
Satisfactory for power supplies that are not subjected to shorted, capacitive, or suddenly increased loads. Any capacitance C1 at load must be charged through Q2, so entire supply voltage appears across Q2 before C1 starts charging. If initial charging current exceeds limits of Q2, it will be damaged immediately or become unstable.-H. D. Ervin, Transistor Power Supply has Overload Protection, Electronics, 31:25, p 74-75.
Reprinted Url Of This Article:
http://www.seekic.com/circuit_diagram/Power_Supply_Circuit/SIMPLE_SERIES_REGULATOR.html
Print this Page | Comments | Reading(3)
Code: