Published:2009/7/16 21:10:00 Author:Jessie | From:SeekIC

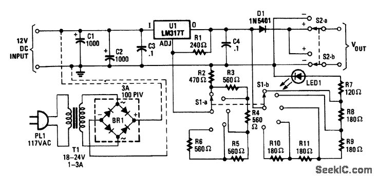
Intended as a replacement for generally poorly regulated wall-type ac/dc adapters, this circuit offers superior performance to simple, unregulated adapters. Voltages of 3, 6, 9, and 12 V are available. The DPDT switch serves as a polarity-reversal switch. R2 through R6 can be replaced with a 2.5-kΩ pot for a variable voltage of 1 to 12 V. R7 through R10 can be replaced by a fixed resistor of about 1 kΩ if the LED1 brightness variation with output voltage is not a problem.
Reprinted Url Of This Article:
http://www.seekic.com/circuit_diagram/Power_Supply_Circuit/STEP_VARIABLE_dc_SUPPLY.html
Print this Page | Comments | Reading(3)
Code: