Published:2009/7/19 22:30:00 Author:Jessie | From:SeekIC

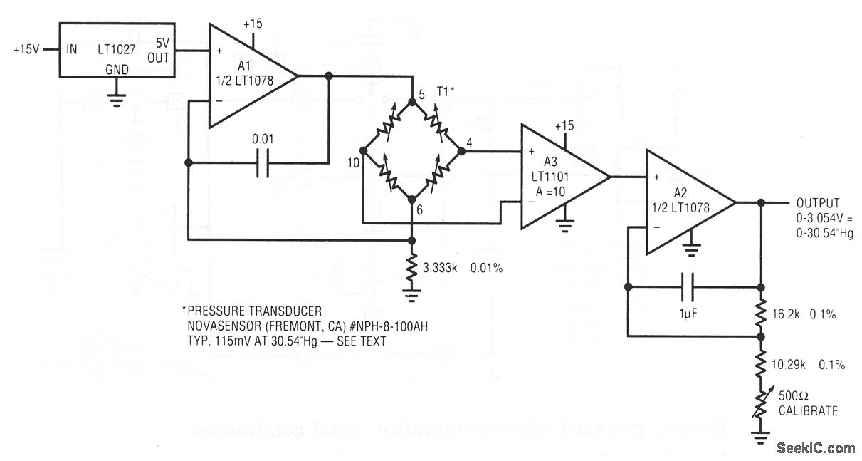
This circuit uses a semiconductor-based pressure transducer to form a low-cost simple barometer, and produces a 0- to 3.054-V output, in response to a sensed 0 to 30.54-in Hg. Transducer T1 specifies a nominal 115 mV at full scale, although each device is supplied with precise calibration data. To calibrate, adjust the potentiometer at A2 until the output corresponds to the scale factor that is supplied with the transducer. Linear Technology Corporation 1991 AN45-11
Reprinted Url Of This Article:
http://www.seekic.com/circuit_diagram/Power_Supply_Circuit/Simple_precision_barometer.html
Print this Page | Comments | Reading(3)
Code: