Published:2009/7/24 0:34:00 Author:Jessie | From:SeekIC

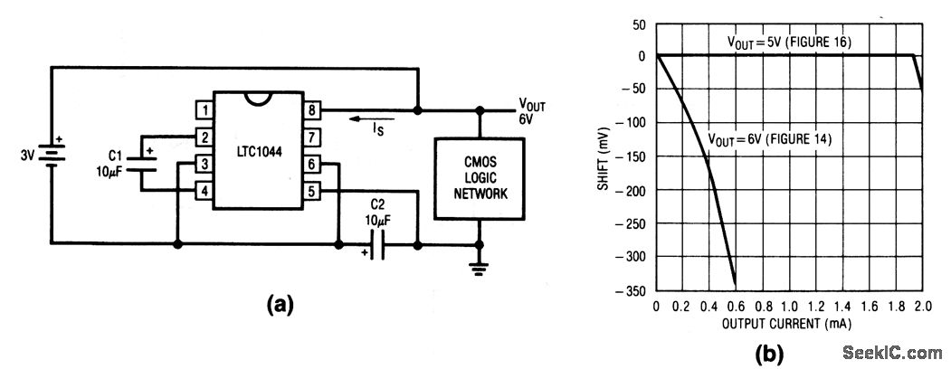
This circuit doubles available battery voltage using an LTC1044 switched-capacitor voltage converter. The circuit will drive low-power 74-CMOS (3-to 15-V) equipment for extended periods of time from two small 1.5-V cells. Efficiency exceeds 90% for load currents below 1.75 mA. Figure 8-7B shows output voltage versus loading (shown as VOUT=6 V).
Reprinted Url Of This Article:
http://www.seekic.com/circuit_diagram/Power_Supply_Circuit/Simple_voltage_doubler.html
Print this Page | Comments | Reading(3)
Code: