Published:2009/7/23 22:59:00 Author:Jessie | From:SeekIC


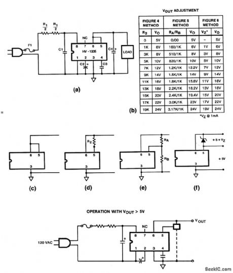
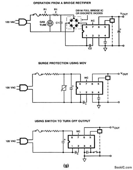
The HV-1205 converts ac into regulated dc to power low-voltage components, such as ICs. Input voltage is 120 V at frequencies from 48 to 380 Hz. Output voltage is set by selection of external components, as shown in the table of Fig. 7-6B, and it can be any value between 5 V and 24V, at 50 mA. Recommended values for components shown in Figs. 7-6C through 7-6G are as follows: fuse F1 is 1/4 A, 2AG; source resistor R1=150 Ω; snubber capacitor C1=0.05μF, ac rated; metal-oxide varistor (MOV, Fig. 7-6G) surge suppressor =V130LA20 or equivalent; pre-regulator capacitor C2 =470μF, with a voltage rating about 10-V greater than chosen VOUT; inhibit capacitor C3=150 pF for 50/60 Hz, and 47 pF for 400 Hz, with a voltage rating about 10-V greater than chosen VOUT; output filter capacitor C4=1μF minimum, 100μF reduced output spikes to about 25 mVp p-p; R2, RA, RB, and VZ=values shown in table Fig. 7-6B (VOUT adjustment). Note that the HV-1205 does not provide isolation from the line.
Reprinted Url Of This Article:
http://www.seekic.com/circuit_diagram/Power_Supply_Circuit/Single_chip_power_supply_with_linear_regulation.html
Print this Page | Comments | Reading(3)
Code: