Published:2009/7/23 23:00:00 Author:Jessie | From:SeekIC

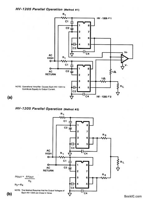
These two circuits show two HV-1205 single-chip supplies (as shown in Fig.7-6) connected in parallel to increase current capability.
Reprinted Url Of This Article:
http://www.seekic.com/circuit_diagram/Power_Supply_Circuit/Single_chip_supply_with_parallel_operation.html
Print this Page | Comments | Reading(3)
Code: