Published:2009/7/23 23:03:00 Author:Jessie | From:SeekIC

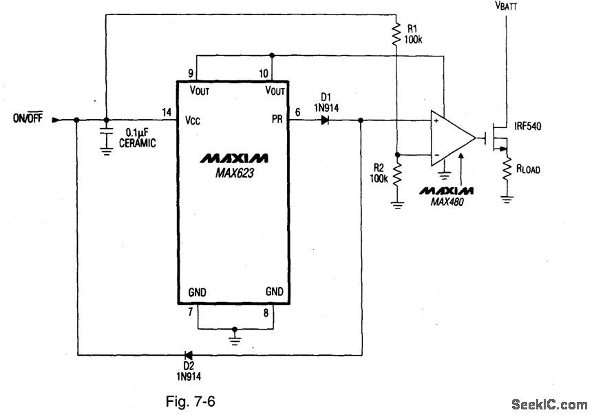
Figure 7-6 shows a MAX623 connected as a comparator-switch. The switch is turned on by applying VBATT to the ON/OFF input and turned off by pulling the input to ground. MAXIM NEW RELEASES DATA Book, 1992, P. 4-38.
Reprinted Url Of This Article:
http://www.seekic.com/circuit_diagram/Power_Supply_Circuit/Smgle_load_switch.html
Print this Page | Comments | Reading(3)
Code: