Published:2009/7/24 5:24:00 Author:Jessie | From:SeekIC

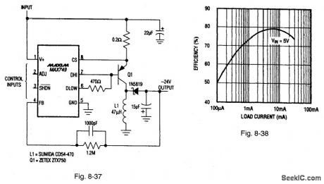
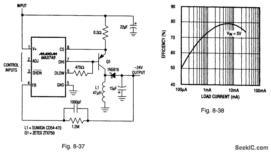
Figure 8-37 shows a MAX749 connected as an LCD-contrast supply with a digitally adjusted negative output. Figure 8-38 shows the efficiency curve. The MAX749 has an on-board five-bit D/A converter that adjusts the LCD contrast voltage (from 1/3 full-scale to full-scale) through a serial interface. No adjustment pots are needed, The circuit operates over a 2-V to 6-V range, draws 310-μA quiescent current, and is capable of 25-mA output. MAXIM BATTERY MANAGEMENT CIRCUIT COLLECTION, 1994, P. 46.
Reprinted Url Of This Article:
http://www.seekic.com/circuit_diagram/Power_Supply_Circuit/Stand_alone_LCD_contrast_bias_supply_digitally_adjusted.html
Print this Page | Comments | Reading(3)
Code: