Published:2009/7/23 23:33:00 Author:Jessie | From:SeekIC


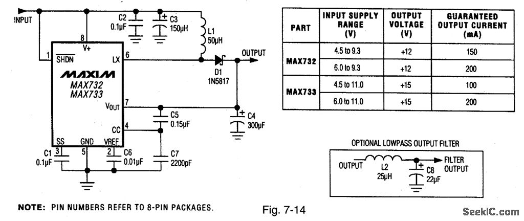
Figure 7-14 shows the MAX732 and MAX733 connected as step-up PWM (pulse-width modulation) regulators. Typical efficiency for the MAX731 is 82% to 87%, with 85% to 95% for the MAX733. Figure 7-15 shows the pin configurations. MAXIM HIGH-RELIAsILITY DATA BOOK, 1993, P. 4-65.
Reprinted Url Of This Article:
http://www.seekic.com/circuit_diagram/Power_Supply_Circuit/Step_up_PWM_regulators.html
Print this Page | Comments | Reading(3)
Code: