Published:2009/7/25 1:38:00 Author:Jessie | From:SeekIC

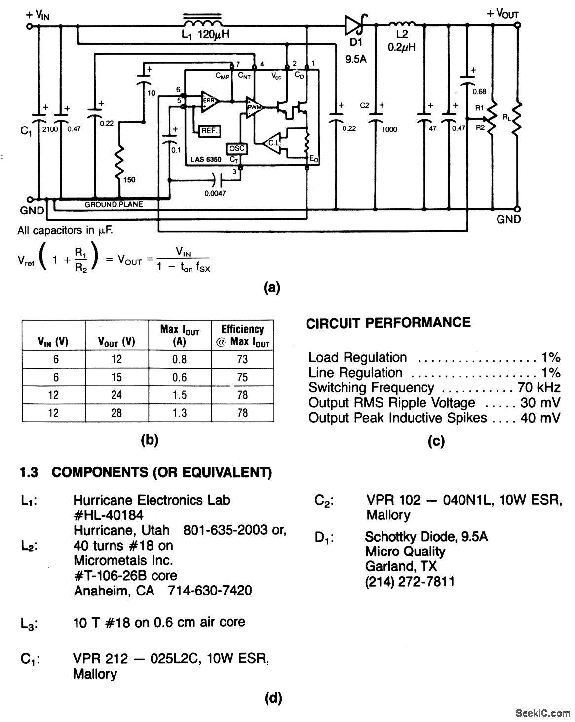
This circuit provides an adjustable output at 1.5 A. Typical performance, circuit performance, and component sources are shown in Figs. 4-29B, 4-29C, and 4-29D, respectively.
Reprinted Url Of This Article:
http://www.seekic.com/circuit_diagram/Power_Supply_Circuit/Step_up_converter_with_adjustable_output.html
Print this Page | Comments | Reading(3)
Code: