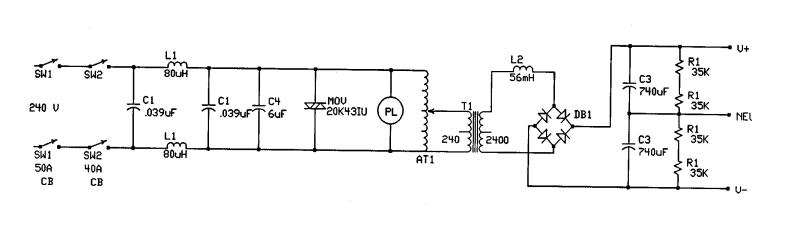
Published:2013/2/24 21:19:00 Author:muriel | Keyword: TESLA COIL, DRIVER | From:SeekIC

Reprinted Url Of This Article:
http://www.seekic.com/circuit_diagram/Power_Supply_Circuit/TESLA_COIL_DRIVER.html
Print this Page | Comments | Reading(3)
Code: